知识产权是一切商业活动的重要前提,你的商标注册了吗?
中石化“跨界”
中石化作为中国500强的老大,石油化工产品人尽皆知。但是大家想不到的是中石化还在自己研发、出售螺蛳粉,现在都已经正式上架了!
有句话说的好,不想当将军的士兵,不是好厨子。这话乍一听是有点毛病,但如果放在那些想跨界的企业身上,一下子就顺了。
这些年来,泸州老窖出香水,六神花露水联合锐澳卖花露水风味鸡尾酒,五菱汽车开卖螺蛳粉礼盒等等,各大企业卯足了劲儿想抓住跨界的契机让自己火一把。
除中石化外,中国烟草、中石油这些在许多人眼里“挣大钱”的行业大佬们在2020年也纷纷跨界转型做起了食品饮料的“小生意”——中国烟草推出护肺饮料“不染汤”,中国石油推出功能饮料“好客之力”。


(图片来源:网络)
如今,中石化又将目光投向了大热的螺蛳粉市场,在零售领域再落一子,中石化与螺蛳粉,又将擦出怎样的火花?
落棋螺蛳粉,抢百亿市场
1月17日,中石化广西石油分公司举办易姐姐螺蛳粉产品上市发布会,这款螺蛳粉品牌与中国石化旗下零售品牌“易捷”谐音,由中国石化广西石油分公司自主研发,目前已经在易捷APP上线,未来将在全国近3万家易捷便利店上架。
此消息一出迅速传播开来,短时间内吸引网友们的广泛关注。


(图片来源:中国石化微信公众号)
2020年宅家,螺蛳粉风靡全国,再加上直播带货又给螺蛳粉加了“料”,让螺蛳粉行业实现了新的突破。据统计,预计到2022年,螺蛳粉产值将突破300亿元。
也正是因为行业景气再加上门槛相对来说较低,促使许多大企业也想入局分一杯羹。
比如前文提及的“五菱螺蛳粉”,走的是高端路线,礼盒把本来烟火气十足的大众美食螺蛳粉包装得“好像吃不起”的样子。

(图片来源:五菱汽车微信公众号)
中石化作为老牌的“国字号选手”,如今也开始涉足螺蛳粉行业。
“易姐姐”商标
螺蛳粉的风已经刮了好几年,市场前景大好,中石化选择入局螺蛳粉这样的快消速食行业并不令人意外,毕竟中石化加油站旁的易捷便利店,每天往来的消费者对速食产品有着庞大的需求。
跨界营销玩得溜,这位“国字号”选手也十分严谨,在螺蛳粉产品还没有面世前,就早早申请了商标。
于中国商标网检索发现,中国石化销售股份有限公司广西石油易捷分公司在2020年7月15日就提交了5件“易姐姐”商标的注册申请,指定使用在多个类别上。

(图片来源:中国商标网截图)
其中,注册在33类、40类、31类、35类上的“易姐姐”商标已获初审公告,但螺蛳粉需要的核心类别——第30类的“易姐姐”商标就没有那么顺利了。
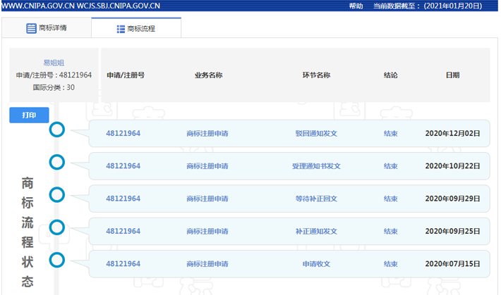
第48121964号“易姐姐”商标指定使用在第30类,米粉(条状)等商品及服务上,目前该商标已被驳回。

(图片来源:中国商标网截图)
如今无论个人还是企业,即便是头号央企也在争相破圈,寻求更多可能性。只是别忘了,在新产品或新服务上市之前,一定要率先将商标提交注册申请,做好商标布局工作。一方面是便于自身的顺利使用,避免产生知识产权纠纷,一方面是为做好商标防御,杜绝他人窃取商机,进行商标抢注,便于我方顺利维权。
知识产权是一切商业活动的重要前提,你的商标注册了吗?
卓盈,为您提供全球商标注册、商标交易、专利申请、版权登记等内容,欢迎联系我们咨询。
中石化“跨界”
中石化作为中国500强的老大,石油化工产品人尽皆知。但是大家想不到的是中石化还在自己研发、出售螺蛳粉,现在都已经正式上架了!
有句话说的好,不想当将军的士兵,不是好厨子。这话乍一听是有点毛病,但如果放在那些想跨界的企业身上,一下子就顺了。
这些年来,泸州老窖出香水,六神花露水联合锐澳卖花露水风味鸡尾酒,五菱汽车开卖螺蛳粉礼盒等等,各大企业卯足了劲儿想抓住跨界的契机让自己火一把。
除中石化外,中国烟草、中石油这些在许多人眼里“挣大钱”的行业大佬们在2020年也纷纷跨界转型做起了食品饮料的“小生意”——中国烟草推出护肺饮料“不染汤”,中国石油推出功能饮料“好客之力”。


(图片来源:网络)
如今,中石化又将目光投向了大热的螺蛳粉市场,在零售领域再落一子,中石化与螺蛳粉,又将擦出怎样的火花?
落棋螺蛳粉,抢百亿市场
1月17日,中石化广西石油分公司举办易姐姐螺蛳粉产品上市发布会,这款螺蛳粉品牌与中国石化旗下零售品牌“易捷”谐音,由中国石化广西石油分公司自主研发,目前已经在易捷APP上线,未来将在全国近3万家易捷便利店上架。
此消息一出迅速传播开来,短时间内吸引网友们的广泛关注。


(图片来源:中国石化微信公众号)
2020年宅家,螺蛳粉风靡全国,再加上直播带货又给螺蛳粉加了“料”,让螺蛳粉行业实现了新的突破。据统计,预计到2022年,螺蛳粉产值将突破300亿元。
也正是因为行业景气再加上门槛相对来说较低,促使许多大企业也想入局分一杯羹。
比如前文提及的“五菱螺蛳粉”,走的是高端路线,礼盒把本来烟火气十足的大众美食螺蛳粉包装得“好像吃不起”的样子。

(图片来源:五菱汽车微信公众号)
中石化作为老牌的“国字号选手”,如今也开始涉足螺蛳粉行业。
“易姐姐”商标
螺蛳粉的风已经刮了好几年,市场前景大好,中石化选择入局螺蛳粉这样的快消速食行业并不令人意外,毕竟中石化加油站旁的易捷便利店,每天往来的消费者对速食产品有着庞大的需求。
跨界营销玩得溜,这位“国字号”选手也十分严谨,在螺蛳粉产品还没有面世前,就早早申请了商标。
于中国商标网检索发现,中国石化销售股份有限公司广西石油易捷分公司在2020年7月15日就提交了5件“易姐姐”商标的注册申请,指定使用在多个类别上。

(图片来源:中国商标网截图)
其中,注册在33类、40类、31类、35类上的“易姐姐”商标已获初审公告,但螺蛳粉需要的核心类别——第30类的“易姐姐”商标就没有那么顺利了。
第48121964号“易姐姐”商标指定使用在第30类,米粉(条状)等商品及服务上,目前该商标已被驳回。

(图片来源:中国商标网截图)
如今无论个人还是企业,即便是头号央企也在争相破圈,寻求更多可能性。只是别忘了,在新产品或新服务上市之前,一定要率先将商标提交注册申请,做好商标布局工作。一方面是便于自身的顺利使用,避免产生知识产权纠纷,一方面是为做好商标防御,杜绝他人窃取商机,进行商标抢注,便于我方顺利维权。
知识产权是一切商业活动的重要前提,你的商标注册了吗?
卓盈,为您提供全球商标注册、商标交易、专利申请、版权登记等内容,欢迎联系我们咨询。











